Last Updated on June 20, 2018 by Bang Gilmot
GilaMotor.com – Honda Rebel menjadi wakil pabrikan berlambang sayap mengepak untuk segmen motor cruiser. Secara global, motor ini tersedia dalam dua versi berdasarkan kapasitas mesinnya, yaitu versi 300 cc dan 500 cc. Namun, kabarnya varian Honda Rebel akan bertambah.
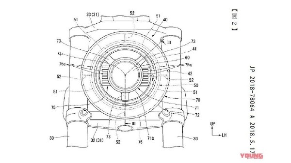
Prediksi itu menyusul bocornya gambar paten sebuah motor yang diduga kuat adalah Honda Rebel bermesin 1.000 cc. Informasi tersebut Bang Gilmot dapat dari Bikewale.com dan Young Mechine.
[Baca juga: CBR Club Indonesia: Bikers Sejati, Memberi dari Hati]
Dalam sebuah laporan, disebutkan mesin Honda Rebel itu nantinya akan menggunakan unit yang identik dengan dapur pacu miliki motor penjelajah Honda Africa Twin.
Perubahan pada sektor sumber tenaga itu dilakukan tanpa mengubah desain bodi motor ini yang bergaya cruiser. Kalau ada pun hanya sebagian kecil. Misalnya untuk lampu disebut-sebut akan mengunakan desain mirip milik konsep GB1000TT.
Beberapa pihak memprediksi Honda Rebel 1.000 cc akan menyapa publik paling cepat tahun depan.







